
 XWJ型無堵塞紙漿泵產品簡介
  XWJ型無堵塞紙漿泵產品簡介
XWJ型無堵塞紙漿泵,具有高效、抗堵塞性好、運行平穩、可靠性高、結構緊湊等特點。主要體現在以下幾個方面:采用半開或全開式葉輪、耐磨板與葉輪前側間隙可調、軸封主要采用機械密封并選用高精度軸承(D級精度)及優質軸材料等,因此XWJ型無堵塞紙漿泵是您理想的"好幫手",同時您的成功也是我們始終的追求。
 XWJ型無堵塞紙漿泵產品用途
  XWJ型無堵塞紙漿泵產品用途
XWJ型無堵塞紙漿泵可廣泛適用于輕工、造紙行業溫度低于110℃,濃度低于6%漿料的輸送,同時也可用于工業和城市給水、排水等場合。
 XWJ型無堵塞紙漿泵型號意義
  XWJ型無堵塞紙漿泵型號意義

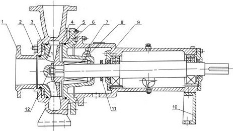
 XWJ型無堵塞紙漿泵結構介紹
  XWJ型無堵塞紙漿泵結構介紹
|  | 1 | 泵體 | 7 | 軟管接頭 | 
| 2 | 調節螺桿 | 8 | 填料或機械密封 | |
| 3 | 耐磨板 | 9 | 懸架部件 | |
| 4 | 葉輪 | 10 | 支架 | |
| 5 | O形圈 | 11 | 擋水圈 | |
| 6 | 泵蓋 | 12 | 葉輪螺母 | 
 XWJ型無堵塞紙漿泵材料
  XWJ型無堵塞紙漿泵材料
該泵的各過流部件材質為HT200、QT450-10、ZG35或ZG1Cr18Ni9Ti,軸材質為40Cr或3Cr13。
 XWJ型無堵塞紙漿泵性能參數
  XWJ型無堵塞紙漿泵性能參數
| XWJ型紙漿泵性能參數表 | |||||
| 型號 | 流量 | 揚程 | 轉速 | 配套電機型號及功率 | |
| (m3/h) | (m) | (r/min) | (kw) | ||
| 80XWJ25-12.5 | 25 | 12.5 | 1450 | Y100L1-4/2.2 | |
| A | 20 | 10 | Y90L-4/1.5 | ||
| 80XWJ25-20 | 25 | 20 | 1450 | Y100L2-4/3 | |
| A | 20 | 16 | Y100L1-4/2.2 | ||
| 100XWJ50-20 | 50 | 20 | 1450 | Y132S-4/5.5 | |
| A | 45 | 18 | Y112M-4/4 | ||
| B | 40 | 16 | Y112M-4/4 | ||
| 100XWJ50-32 | 50 | 32 | 1450 | Y160M-4/11 | |
| A | 40 | 26 | Y132S-4/5.5 | ||
| 125XWJ100-20 | 100 | 20 | 1450 | Y160M-4/11 | |
| A | 90 | 18 | Y132M-4/7.5 | ||
| B | 80 | 16 | Y132M-4/7.5 | ||
| 125XWJ100-32 | 100 | 32 | 1450 | Y160L-4/15 | |
| A | 90 | 28 | Y160M-4/11 | ||
| B | 80 | 26 | Y160M-4/11 | ||
| 150XWJ200-20 | 200 | 20 | 1450 | Y180M-4/18.5 | |
| A | 180 | 18 | Y160L-4/15 | ||
| B | 160 | 16 | Y160M-4/11 | ||
| 150XWJ200-32 | 200 | 32 | 1450 | Y200L-4/30 | |
| A | 187 | 28 | Y180L-4/22 | ||
| B | 170 | 24 | Y180M-4/18.5 | ||
| 200XWJ400-20 | 400 | 20 | 1450 | Y225S-4/37 | |
| A | 380 | 18 | Y200L-4/30 | ||
| B | 340 | 15 | Y180L-4/22 | ||
| 200XWJ400-32 | 400 | 32 | 1450 | Y250M-4/55 | |
| A | 375 | 28 | Y225M-4/45 | ||
| B | 340 | 24 | Y225S-4/37 | ||
 XWJ型無堵塞紙漿泵安裝尺寸圖
  XWJ型無堵塞紙漿泵安裝尺寸圖
| 泵型號 | 配套電機型號 | A | L1 | L2 | L3 | a | L4 | L5 | B1 | B | H1 | H | n-d | 
| 及功率(kw) | |||||||||||||
| 80XWJ25-12.5 | Y100L1-4/2.2 | 60 | 768 | 108 | 550 | 110 | 371 | 847 | 310 | 350 | 215 | 425 | 4-Φ18 | 
| 80XWJ25-12.5A | Y90L-4/1.5 | 807 | |||||||||||
| 80XWJ25-20 | Y100L2-4/3 | 110 | 980 | 120 | 740 | 125 | 491 | 847 | 440 | 490 | 255 | 490 | |
| 80XWJ25-20A | Y100L1-4/2.2 | ||||||||||||
| 100XWJ50-20 | Y132S-4/1.5 | 90 | 920 | 130 | 660 | 125 | 472 | 1077 | 440 | 490 | 270 | 520 | |
| 100XWJ50-20A | Y112M-4/4 | 1002 | |||||||||||
| 100XWJ50-20B | Y112M-4/4 | ||||||||||||
| 100XWJ50-32 | Y160M-4/11 | 1043 | 125 | 740 | 1207 | 460 | 510 | 300 | 580 | ||||
| 100XWJ50-32A | Y132S-4/5.5 | 990 | 1077 | ||||||||||
| 125XWJ100-20 | Y160M-4/11 | 1200 | 180 | 840 | 140 | 502 | 1252 | 300 | 580 | 4-Φ24 | |||
| 125XWJ100-20A | Y132M-4/7.5 | 990 | 125 | 740 | 1162 | 4-Φ18 | |||||||
| 125XWJ100-20B | Y132M-4/7.5 | ||||||||||||
| 125XWJ100-32 | Y160L-4/15 | 1200 | 180 | 840 | 1297 | 325 | 640 | 4-Φ24 | |||||
| 125XWJ100-32A | Y160M-4/11 | 1252 | |||||||||||
| 125XWJ100-32B | Y160M-4/11 | ||||||||||||
| 150XWJ200-20 | Y180M-4/18.5 | 150 | 502 | 1327 | 325 | 680 | |||||||
| 150XWJ200-20A | Y160L-4/15 | 1307 | |||||||||||
| 150XWJ200-20B | Y160M-4/11 | 1262 | |||||||||||
| 150XWJ200-32 | Y200L-4/30 | 1432 | 375 | 730 | |||||||||
| 150XWJ200-32A | Y180L-4/22 | 1367 | |||||||||||
| 150XWJ200-32B | Y180M-4/18.5 | 1327 | |||||||||||
| 200XWJ400-20 | Y225S-4/37 | 115 | 1500 | 200 | 1050 | 350 | 652 | 1487 | 630 | 690 | 465 | 865 | 4-Φ28 | 
| 200XWJ400-20A | Y200L-4/30 | 1442 | |||||||||||
| 200XWJ400-20B | Y180L-4/22 | 1377 | |||||||||||
| 200XWJ400-32 | Y250M-4/55 | 115 | 1500 | 200 | 1050 | 350 | 652 | 1717 | 630 | 690 | 465 | 865 | |
| 200XWJ400-32A | Y225M-4/45 | 1632 | |||||||||||
| 200XWJ400-32B | Y225S-4/37 | 1607 | 
 XWJ型無堵塞紙漿泵進出口法蘭尺寸
  XWJ型無堵塞紙漿泵進出口法蘭尺寸
| 泵型號 | 進口法蘭尺寸 | 出口法蘭尺寸 | ||||||||||
| DN1 | D1 | D11 | d1 | b1 | n1-d01 | DN2 | D2 | D12 | d2 | b2 | n2-d02 | |
| 80XWJ25-12.5 | 80 | 190 | 150 | 128 | 18 | 4-Φ18 | 65 | 160 | 130 | 110 | 16 | 4-Φ18 | 
| 80XWJ25-20 | ||||||||||||
| 100XWJ50-20 | 100 | 210 | 170 | 148 | 18 | 4-Φ18 | 80 | 190 | 150 | 128 | 18 | 4-Φ18 | 
| 100XWJ50-32 | ||||||||||||
| 125XWJ100-20 | 125 | 240 | 200 | 178 | 20 | 8-Φ18 | 100 | 210 | 170 | 148 | 18 | 4-Φ18 | 
| 125XWJ100-32 | ||||||||||||
| 150XWJ200-20 | 150 | 265 | 225 | 202 | 20 | 8-Φ18 | 125 | 240 | 200 | 178 | 20 | 8-Φ18 | 
| 150XWJ200-32 | ||||||||||||
| 200XWJ400-20 | 200 | 320 | 280 | 258 | 22 | 8-Φ18 | 150 | 265 | 225 | 202 | 20 | 8-Φ18 | 
| 200XWJ400-32 | ||||||||||||
 XWJ型無堵塞紙漿泵簡要使用說明
  XWJ型無堵塞紙漿泵簡要使用說明
1、XWJ無堵塞紙漿泵起動前,應按以下要求進行檢查; 
①、各螺栓是否已緊固;軸承室內是否已注入稀油(油位高為油標φ心處); 
②、聯軸器同軸度是否小于等于φ0.3mm:同時用手轉動聯軸器應感覺輕松均勻; 
③、電機轉向是否正確; 
④、進口閥門是否全開;
⑤、出口閥門是否關閉;
⑥、密封水閥門是否開啟;密封水壓力要求:工作壓力加上(0.3~0.5)kgf/cm2。
2、啟動電機至額定轉速后,緩慢打開出口閥門至額定工況要求(以電機運行電流為額定值的80%為宜)。
3、泵在運行過程中,應注意泵的運轉穩定性及密封水的冷卻、沖洗情況。
4、當XWJ無堵塞紙漿泵運行一段時間或揚程有所下降時,應注意調整葉輪前側間隙,調節方法如下:
先松開各緊固螺母,將方頭調節螺桿(見結構圖)按逆時針轉動至耐磨板與葉輪前側相碰為止,然后再按順時針將方頭調節螺桿退回至1/2圈(此時其間隙為0.8~1mm),最后擰緊各螺母。
5、泵停止運轉時,應先關閉出口閥門,然后再關閉電機電源等。
6、當泵需停用一段時間時,應排盡泵內積液,以便下次使用。
聲明:由于產品一直在更新,本文中所有文字、數據、圖片均只適用于參考,XWJ型無堵塞紙漿泵性能參數、XWJ型無堵塞紙漿泵使用場合、XWJ型無堵塞紙漿泵材質要求、XWJ型無堵塞紙漿泵結構、XWJ型無堵塞紙漿泵安裝尺寸以及XWJ型無堵塞紙漿泵的價格等詳情,我們一定會盡心盡力為您提供優質的服務。

 
         